Autentificare Înregistrare
Catalog
Comparație Favorite Comandați un apel
Înapoi
Materiale de construcții
Instrumente
Echipamente electrice
Sisteme de inginerie
Interior și decor
Instalații sanitare
Elemente de fixare
Grădinărit și odihnă

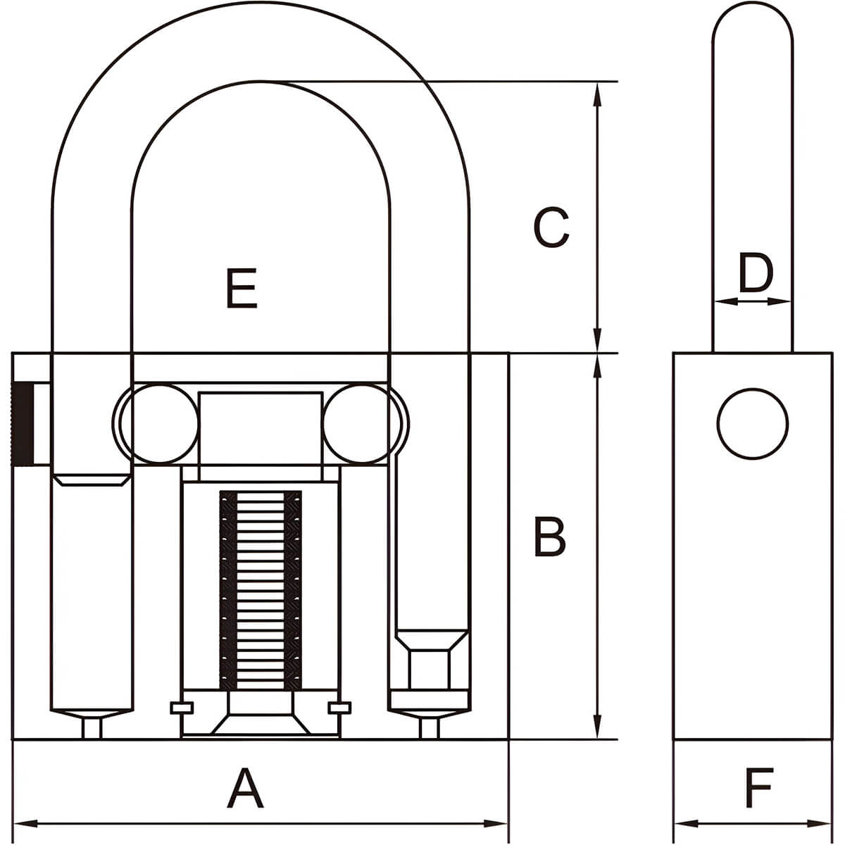
Lacăt suspendat Proline 60 mm, 4 chei, toartă călită 30 HRC, blocare dublă (Art. 24860)

DESCRIERE
SPECIFICAȚII
Cod: 30.1452
Preț pentru bucată
În coș
(0)
Comparați
În favorite
(0)
Cod: 30.1452
Tipul de produs: Lacăt
Brand: PROLINE
Destinație: Pentru garaj, Pentru stradă, Pentru ladă
Culoare: Crom
Vizualizați toate specificațiile
Dimensiunea carcasei, mm:


Lacăt suspendat Proline 60 mm, 4 chei, toartă călită 30 HRC, blocare dublă (Art. 24860) — este utilizat pentru protecția de bază a bunurilor: porți, portițe, anexe, dulapuri, lăzi, lanțuri și alte obiecte unde este necesar un control rapid al accesului, fără instalare complicată.

Corpul este realizat dintr-un aliaj metalic rezistent la uzură (fontă aliată cu armare din nichel), conceput pentru utilizare zilnică și pentru a face față solicitărilor mecanice. Toarta este călită, cu o duritate declarată de 30 HRC, potrivită pentru utilizare în exterior și pentru cicluri frecvente de deschidere/închidere.

Avantaje:

  • Blocare dublă a toartei — fixare mai stabilă în poziția închis și joc redus în timpul utilizării.
  • Cilindru din alamă — funcționare lină a mecanismului și durată de viață bună la utilizare regulată.
  • Protecție împotriva găuririi — întărirea zonei vulnerabile a cilindrului pentru o rezistență sporită la forțare.
  • 4 chei incluse — practic pentru familie sau echipă: mai puține blocaje și transferuri de chei.

Unde este cel mai potrivit: aplicații casnice și gospodărești, lăzi de depozitare, boxe, balamale de garaj, porți/portițe, biciclete (ca blocare suplimentară), dulapuri pentru scule.

Recomandare pentru alegerea dimensiunii: luați în calcul grosimea urechilor/inelelor de prindere și înălțimea necesară a toartei. Cu cât fixarea este mai strânsă și spațiul liber din interiorul toartei mai mic, cu atât este mai dificilă intervenția cu unelte.

Conținut pachet: lacăt, 4 chei.

Tipul de produs:
Lacăt
Brand:
PROLINE
Destinație:
Pentru garaj, Pentru stradă, Pentru ladă
Culoare:
Crom
Material:
Fontă
Tipul de lacăt:
Mecanică
Materialul ușii:
Lemn, Metal
Dimensiunea carcasei, mm:
60
Numărul de chei în set, bucăți:
4
Preț pentru bucată
105 lei
În coș
Citește mai mult Ascunde
Noi actualizăm în mod constant informațiile de pe site. Indiferent de capacitățile noastre, pot apărea erori în descrierea produselor. Ilustrațiile produselor sunt prezentate doar în scop informativ și este posibil să nu reprezinte cu exactitate produsul real. Este posibil ca caracteristicile și prețurile produselor să fi fost modificate de către parteneri sau producători fără o notificare prealabilă sau să apară erori în funcționarea produselor. Orice promoții afișate pe site sunt supuse disponibilității în stoc. Vă mulțumim pentru înțelegere!
Lasă o recenzie
Mai puteți vedea:
Preț pentru
(0)
215 lei
Preț pentru bucată
Pentru puncte:
În coș
new
Lacăt HOSI 93 mm, 5 chei HS-93MM
Preț pentru
(0)
230 lei
Preț pentru bucată
Pentru puncte:
În coș
Preț pentru
(0)
79 lei
Preț pentru bucată
Pentru puncte:
În coș
Preț pentru
(0)
35 lei
Preț pentru bucată
Pentru puncte:
În coș

Cumpărați într-un click!

Indicați-ne numărul Dvs. de telefon și noi vă vom contacta

Verificați dacă introduceți numărul corect